【铁证】从一张图能看出外汇天眼做内盘?(外汇天眼编辑亲自提供)
有网友给我提供信息,说是从外汇天眼官网的一张图发现了猫腻,完全能够判断出外汇天眼的编辑就是中金网的。外汇天眼这个团队并不是独立的,这些编辑既要做中金网又要做外汇天眼还要维护内盘的内容。
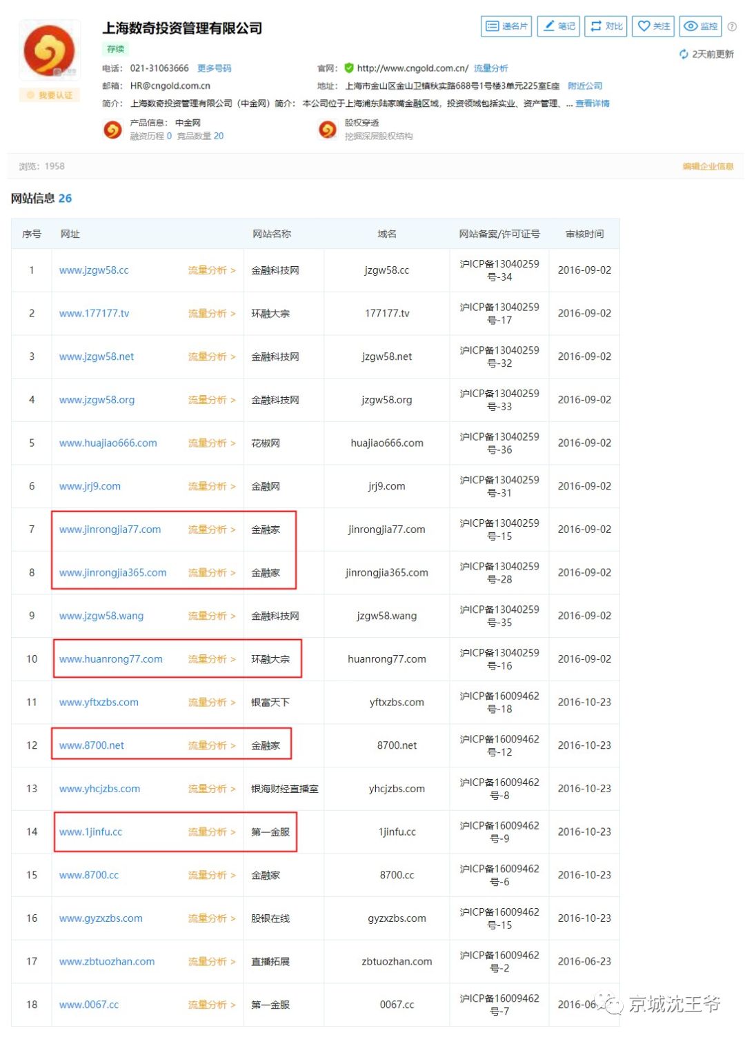
360浏览器会显示出来的收藏夹都是常常使用的网站,这位外汇天眼编辑应该是做嘉盛开曼监管截图的时候没注意,把自己浏览器的收藏夹网站信息透露了。有几个网站很熟悉,一个是中金网旗下的金融家,一个是第一金服,有一个是本王都不知道的微盘,而且还是微盘后台,说明他们是内部工作人员才会要使用到微盘后台。

本王之前爆过过他们的众多内盘马甲,大家可以看看
【连载 2】触目惊心!外汇天眼的幕后老板的庞大网络图
下面给大家看看简单版的,中金网旗下的备案的域名,正好就有金融家和第一金服。

亲爱的投资者们,虽然大都已经知道他们底子了,那一小部分小白们现在也该清醒了。那些聪明的平台商老板们,你们还要送钱送用户资料给自己的竞争对手吗?哈哈。
那些怕被外汇天眼黑的平台商们,学学ACY的吧,只要有人故意拿着外汇天眼的图说事,ACY啪一下拿出他们的黑料,比如那几个实地视频,然后就没人说事,真正的小白也就明白了。所以说他们黑你们也就无用功了。
不想上当的小白投资者们,赶紧下载外汇天网APP,获取最真实的平台信息。本王现在有五个粉丝群,不久要开第六个了,想加群的,谈合作的,今后有任何需要帮助的投资者都可以加本王的微信xingui25666!

| 广告位 |








